Back in early 2024, Apple(iphone) filed a patent application for an “Electronic Device and Case with Satellite Communication Capabilities”, and this has just surfaced now. Basically, it’s a case that comes with more and better antennas which can enhance satellite connectivity.
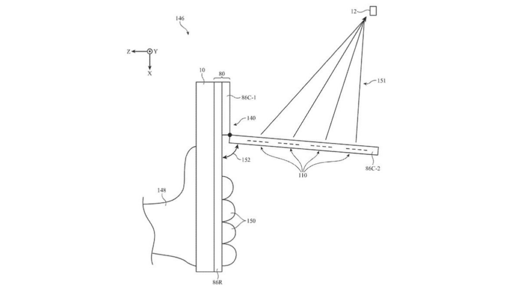
The case will be made for iPhones but also iPads, apparently. As you can see in the drawing just like a chart below, the case will have a part that flips open to point the internal phased antenna array towards the sky in order to get a better satellite signal.
Join Our WhatsApp Group for Daily Updates
Click to Join WhatsApp GroupThis will also ensure that touching the phone won’t block the satellite signal, since you’re not touching the actual part that flips, which houses the antennas.
This Upcoming iPhone Case Could Significantly Improve Satellite Connectivity

With such an antenna array, the case would be able to connect to a whole group of satellites. The case would function like a normal case, being user-installable and removable. In its patent application, Apple speculates that it could “convey wireless data with the removable case over a radio-frequency connector”, or various other options like NFC.
Apple-iPhone-17-Pro-camera-close-up-250909-lp.jpg.landing-big_2x
The thing to remember about patent filings like this one is that companies like Apple routinely create them for a ton of products that then never actually see the light of day. They are more ‘proof of concept’ and less ‘actual in-development products’.
They may lead to the latter, but most don’t, so while this sounds rather interesting, we’re not sure if Apple will ever launch something like it.
